Texas Instruments TPS546B25/TPS546B25W Synchrone Abwärtswandler

Texas Instruments TPS546B25/TPS546B25W Synchrone Abwärtswandler sind hochintegrierte stapelbare Abwärtswandler mit D-CAP4-Steuertopologie für ein schnelles Einschwingverhalten. Diese Wandler unterstützen einen Eingangsspannungsbereich von 4 V bis 18 V (bis zu 2,7 V mit externer Vorspannung) und bieten einphasige oder gestapelte Konfigurationen von 2x, 3x oder 4x. Die TPS546B25/TPS546B25W Wandler verfügen über eine PMBus 1.5-Konformität und bieten eine umfangreiche Telemetrie, einschließlich Spannung, Strom und Temperatur. Diese Abwärtswandler arbeiten in einem Betriebsfrequenzbereich von 400 kHz bis 2 MHz (vier diskrete Einstellungen über eine Stiftleiste, zusätzliche Einstellungen sind über denPMBus®verfügbar). Zu den weiteren Funktionen gehören eine programmierbare interne Schleifenkompensation, eine wählbare Strombegrenzung für die Zyklus-für-Zyklus-Talstrombegrenzung und ein Open-Drain-Power-Good-Ausgang. Die TPS546B25/TPS546B25W Abwärtswandler sind bleifreie Bauteile, die ausnahmslos RoHs-konform sind. Typische Applikationen umfassen Server- und Cloud-Computing-POLs, Hardwarebeschleuniger und Netzwerkschnittstellenkarten (NICs).

Merkmale

  • Eingangsspannungsbereich von 2,7 V bis 18 V mit externer Vorspannung
  • Eingangsspannungsbereich von 4 V bis 18 V ohne externe Vorspannung
  • Ausgangsspannungsbereich von 0,4 V bis 5,5 V
  • Unterstützt 25 A Einzelphase oder 2 x, 3 x oder 4 x gestapelte Konfigurationen
  • Rdson_HS = 2,6 mΩ, Rdson_LS = 1 mΩ
  • Betriebsfrequenz von 400 kHz bis 2 MHz (vier diskrete Einstellungen über die Stiftklemme, zusätzliche Einstellungen über PMBus®)
  • PMBus-programmierbar:
    • Revision 1,5 ist mit der Sicherheitsfunktion PASSSCHLÜSSEL kompatibel.
    • Eingangsspannung Ausgangsspannung, Ausgangsstrom, Temperaturtelemetrie
    • Programmierbarer Überstrom- Überspannungs- Unterspannungs- und Übertemperaturschutz
    • Beinhaltet eine Einzelbefehlsschreibfunktion in gestapelter Bauform
    • Erweiterte Schreibschutzfunktion
    • Nichtflüchtiger Speicher zur Speicherung der Konfigurationseinstellungen
  • Zwei Methoden zum Programmieren der Ausgangsspannung:
    • Interner Widerstandsteiler (diskrete Einstellungen) mit Hochlaufspannung, die durch ein pin-strapping ausgewählt wird
    • Externer Widerstandsteiler (kontinuierliche Einstellungen) mit einer von VBOOT ausgewählten Hochlaufspannung
  • Präzisions-Spannungsreferenz und differenzielle Fernerkennung für hohe Ausgangsgenauigkeit:
    • DAC-Genauigkeit von ±0,5 % von einer Sperrschichttemperatur von 0 °C bis +85 °C
    • ±0,85 % VOUT-Toleranz bei einer Sperrschichttemperatur von –40 °C bis +125 °C
  • Wählbarer FCCM/DCM nur in Einzelphase
  • Inbetriebnahme ohne PmBus-Kommunikation durch Pin-Strapping
  • Sicherer Start in vorgespanntem Ausgang
  • 0,5 ms bis 16 ms programmierbare Sanftanlauf
  • D-CAP4 - Steuertopologie mit schneller Einschwingverhalten, die alle keramischen Ausgangskondensatoren unterstützt
  • Programmierbare interne Schleifenkompensation
  • Wählbare Zyklus-für-Zyklus-Senkstrombegrenzung
  • Open-Drain-Power-Good-Ausgang

Applikationen

  • Server- und Cloud-Computing-POLs
  • Hardwarebeschleuniger
  • Netzwerk Schnittstellen- Karte (NIC)

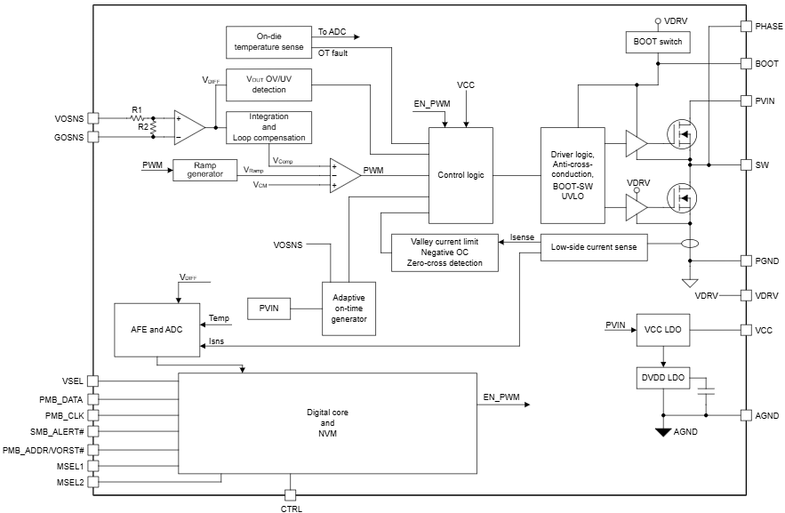
Blockdiagramm, wenn externes Feedback ausgewählt ist

Blockdiagramm - Texas Instruments TPS546B25/TPS546B25W Synchrone Abwärtswandler

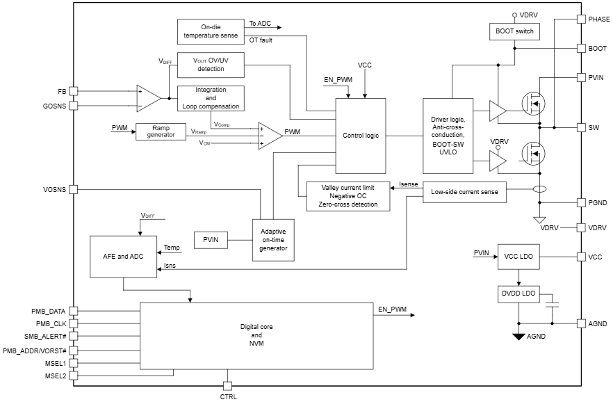
Blockdiagramm, wenn internes Feedback ausgewählt ist

Blockdiagramm - Texas Instruments TPS546B25/TPS546B25W Synchrone Abwärtswandler

Typische Effizienzkurve

Leistungsdiagramm - Texas Instruments TPS546B25/TPS546B25W Synchrone Abwärtswandler
Veröffentlichungsdatum: 2025-11-04 | Aktualisiert: 2025-12-01