Texas Instruments MSP430F552x/MSP430F551x Mischsignal-MCUs
Die Mixed-Signal-Mikrocontroller (MCUs) von Texas Instruments MSP430F552x/MSP430F551x sind MCUs mit extrem niedrigem Stromverbrauch, die mit einem integrierten USB und PHY ausgestattet sind und USB 2,0 sowie vier 16-Bit-Timer unterstützen. Diese Geräte umfassen einen leistungsstarken 12-Bit-Analog-Digital-Wandler (ADC), zwei USCIs, einen Hardware-Multiplikator, DMA und ein RTC-Modul mit Alarmfunktionen. Die Mikrocontroller MSP430F5528, MSP430F5526, MSP430F5524und MSP430F5522 enthalten alle diese Peripheriegeräte, haben aber 47 I/O-Pins. Der Texas Instruments MSP430F552x/MSP430F551x verfügt über eine leistungsstarke 16-Bit-RISC-CPU, 16-Bit-Register und Konstantengeneratoren, die zu einer maximalen Code-Effizienz beitragen. Der digital gesteuerte Oszillator (DCO) ermöglicht es den Geräten, innerhalb von 3,5µs (typisch) vom Low-Power- in den aktiven Modus zu wechseln.Merkmale
- Niedriger Versorgungsspannungsbereich: 3,6 V bis zu 1,8 V
- Extrem geringer Stromverbrauch
- Aktiver Modus (AM)
- Alle Systemuhren sind aktiv
- 290µA/MHz bei 8 MHz, 3,0 V, Flash-Programmausführung (typisch)
- RAM-Programmausführung: 150 µA/MHz bei 8 MHz, 3,0 V (typisch)
- Alle Systemuhren sind aktiv
- Standby-Modus (LPM3)
- Echtzeituhr mit Quarz, Watchdog und Versorgungsüberwachung bei Betrieb, vollständige RAM-Erhaltung, schnelle Aktivierung
- 1,9 µA bei 2,2 V, 2,1 µA bei 3,0 V (typisch)
- Stromsparender Oszillator (VLO), Universal-Zähler, Watchdog und Versorgungsüberwachung bei Betrieb, vollständige RAM-Erhaltung, schnelle Aktivierung
- 1,4 µA bei 3,0 V (typisch)
- Echtzeituhr mit Quarz, Watchdog und Versorgungsüberwachung bei Betrieb, vollständige RAM-Erhaltung, schnelle Aktivierung
- Aus-Modus (LPM4)
- Vollständige RAM-Erhaltung, Versorgungsüberwachung bei Betrieb, schnelle Aktivierung
- 1,1 µA bei 3,0 V (typisch)
- Vollständige RAM-Erhaltung, Versorgungsüberwachung bei Betrieb, schnelle Aktivierung
- Abschaltmodus (LPM4.5)
- 0,18 µA bei 3,0 V (typisch)
- Aktiver Modus (AM)
- Aktivierung aus Standby-Modus in 3,5 µs (typisch)
- 16-Bit-RISC-Architektur, erweiterter Speicher, Systemtakt bis zu 25 MHz
- Flexibles Leistungsmanagementsystem
- Voll integrierter LDO mit programmierbarer geregelter Core-Versorgungsspannung
- Versorgungsspannungskontrolle, Überwachung und Brown-Out
- Einheitliches Taktsystem
- FLL-Regelkreis zur Frequenzstabilisierung
- Interne Taktquelle mit niedrigem Stromverbrauch und niedriger Frequenz (VLO)
- Getrimmte interne Referenzquelle für niedrige Frequenzen (REFO)
- 32 kHz Uhrenquarze (XT1)
- Hochfrequenz-Quarze bis zu 32 MHz (XT2)
- 16-Bit-Timer TA0, Timer_A mit fünf Capture/Compare-Registern
- 16-Bit-Timer TA1, Timer_A mit drei Capture/Compare-Registern
- 16-Bit-Timer TA2, Timer_A mit drei Capture/Compare-Registern
- 16-BIt-Timer TB0, Timer_B mit sieben Capture/Compare-Shadow-Registern
- Zwei serielle Universal-Kommunikationsschnittstellen
- USCI_A0 und USCI_A1 unterstützen jeweils
- Verbesserter UART unterstützt die automatische Baudraten-Erkennung
- IrDA-Encoder und -Decoder
- Synchrone SPI
- USCI_B0 und USCI_B1 unterstützen jeweils
- I2C
- Synchrone SPI
- USCI_A0 und USCI_A1 unterstützen jeweils
- Serieller Vollgeschwindigkeits-Universal-Bus (USB)
- Integriertes USB-PHY
- Integriertes 3,3-V- und 1,8-V-USB-Leistungssystem
- Integriertes USB-PLL
- 8 Eingangs- und 8 Ausgangs-Endpunkte
- 12-Bit-Analog-Digital-Wandler (ADC) (nur MSP430F552x) mit interner Referenz, Abtast-Halte- und Autoscan-Funktionen
- Komparator
- Hardware-Multiplizierer unterstützt 32-Bit-Betrieb
- Serielle On-Board-Programmierung, keine externe Programmierspannung erforderlich
- Interner Dreikanal-DMA
- Basis-Timer mit RTC-Funktion
Applikationen
- Analoge und digitale Sensorsysteme
- Datenlogger
- Verbindung zu USB-Hosts
MSP430F551x PN-Gehäuse – Blockdiagramm
MSP430F551x ZXH-, ZQE-, RGC-Gehäuse – Blockdiagramm
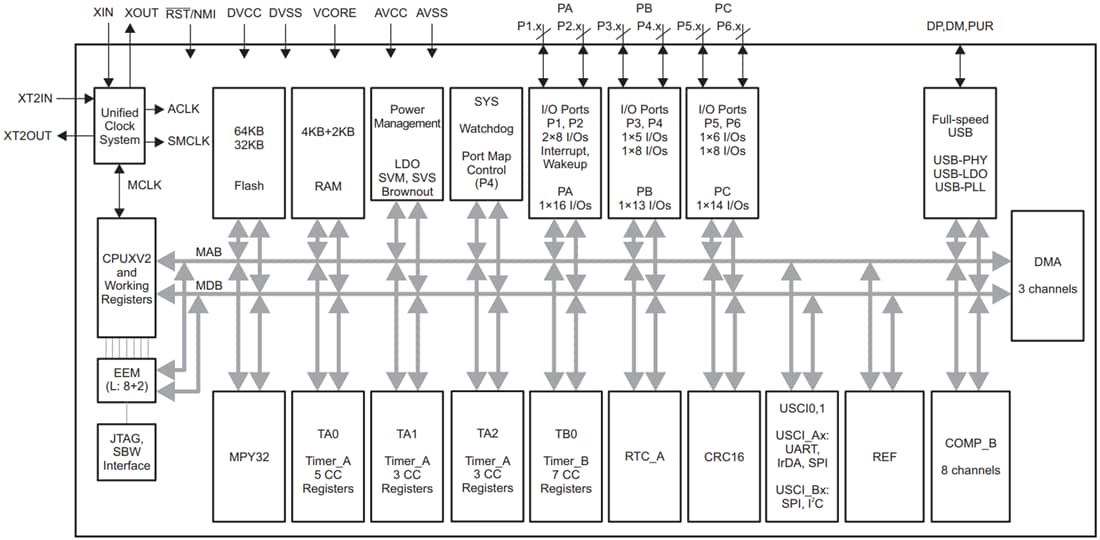
MSP430F552x PN-Gehäuse – Blockdiagramm
MSP430F552x ZXH-, ZQE-, RGC-Gehäuse – Blockdiagramm
Veröffentlichungsdatum: 2020-09-29
| Aktualisiert: 2025-04-16
