STMicroelectronics ST7580 Multimodus-Power-Line-SoC-Bauteile
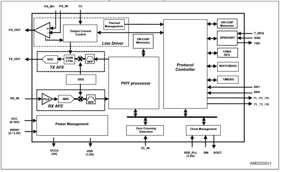
Die STMicroelectroncis ST7580 Multimodus-Power-Line-System-on-Chip-Bauteile basieren auf einer dualen digitalen Core-Architektur, einer PHY-Prozessor-Engine und einem Protokoll-Controller-Core. Diese ST7580 SoC verfügen über eine Host-Controller-UART-Schnittstelle von bis zu 57,6 kBit/s, AES-128-basierte Authentifizierungs- und Vertraulichkeitsdienste und eine Nulldurchgangs-Erkennung. Die Multimodus-Power-Line-SoC-Bauteile eignen sich für EN50065, FCC Teil 15 und ARIB-kompatible Applikationen. Diese ST7580 ICs werden in einem Temperaturbereich von -40 °C bis 105 °C betrieben. Zu den typischen Applikationen gehören Command-and-Control-Netzwerke, Smart-Messgeräte und Straßenbeleuchtungssteuerung.Merkmale
- Vollständig integriertes Schmalband-Power-Line-Networking-System-on-Chip
- Hochleistungs-PHY-Prozessor mit embedded einsatzbereiter Firmware mit:
- B-FSK-Modulation bis 9,6 kBit/s
- B-PSK-, Q-PSK-, 8-PSK-Modulationen von bis zu 28,8 kBit/s
- Zweikanal-Betriebsmodus
- Konvolutionelle Fehlerbehebungs-Kodierung
- Signal-Rausch-Verhältnis-Schätzung
- B-PSK mit PNA-Modus gegen Impulsrauschen
- Protokoll-Engine integriert einsatzbereites Kommunikationsprotokoll:
- Framing-Dienst
- Fehlererkennung
- Sniffer-Funktionsumfang
- Host-Controller-UART-Schnittstelle bis zu 57,6 kBit/s
- AES-128-basierte Authentifizierungs- und Vertraulichkeitsdienste
- Geeignet für EN50065, FCC Teil 15 und ARIB-kompatible Applikationen
- Kommunikationsträgerfrequenz programmierbar bis zu 250 kHz
- VFQFPN48-Gehäuse mit freiliegendem Pad
- Betriebstemperaturbereich: -40 °C bis 105 °C
Applikationen
- Intelligente Stromzähler
- Straßenbeleuchtungssteuerung
- Command-and-Control-Vernetzung
ST7580 Abmessungen
Veröffentlichungsdatum: 2018-11-29
| Aktualisiert: 2023-02-24
