Nexperia 74AVC1T1004 Fanout-Puffer mit 1-zu-4-Umsetzung

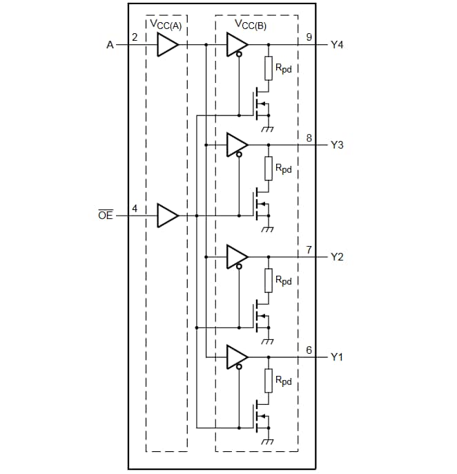
Nexperia 74AVC1T1004 Fanout-Puffer mit 1-zu-4-Umsetzung sind optimal für Taktverteilung und andere tragbare Applikationen. Das Bauteil bietet VCC(A)- und VCC(B)-Dual-Versorgung für Spannungsumsetzung mit vier Datenausgängen (yN), einem Dateneingang (A) und einem Ausgangsfreigabeeingang (OE). Die Doppelversorgungen VCC(A) und VCC(B) können unabhängig voneinander bei jeder Spannung zwischen 0,8 V und 3,6 V geliefert werden. Die Versorgungskonfiguration der Pegel A und OE, die auf VCC(A) bezogen sind, und die Ausgänge Yn, die auf VCC(B) bezogen sind, stellt sicher, dass die aufgefächerten Signale bei der Pegelverschiebung verwendet werden können. Die Pull-Down-Widerstände bewirken, dass ein HOCH auf OE auf NIEDRIG gezogen wird, was dann die Pull-Down-Widerstände trennt und alle Ausgänge aktiviert. Die IOFF-Schaltung verhindert einen schädlichen Rückstrom, indem der Ausgang deaktiviert wird, wenn der 74AVC1T1004 ausgeschaltet wird.

Merkmale

  • Großer Spannungsversorgungsbereich:
    • VCC(A): 0,8 V bis 3,6 V
    • VCC(B): 0,8 V bis 3,6 V
  • Erfüllt alle JEDEC-Standards:
    • JESD8-12 (0,8 V bis 1,3 V)
    • JESD8-11 (0,9 V bis 1,65 V)
    • JESD8-7 (1,2 V bis 1,95 V)
    • JESD8-5 (1,8 V bis 2,7 V)
    • JESD8-B (2,7 V bis 3,6 V)
  • ESD-Schutz:
    • HBM ANSI/ESDA/JEDEC JS-001 Klasse 2 übertrifft 2 kV
    • CDM JESD22-C101 übertrifft 1000 V
  • Maximale Datenrate:
    • 380 Mbit/s (≥1,8 V bis 3,3 V Umsetzung)
    • 200 Mbit/s (≥1,1 V bis 3,3 V Umsetzung)
    • 200 Mbit/s (≥1,1 V bis 2,5 V Umsetzung)
    • 200 Mbit/s (≥1,1 V bis 1,8 V Umsetzung)
    • 150 Mbit/s (≥1,1 V bis 1,5 V Umsetzung)
    • 100 Mbit/s (≥1,1 V bis 1,2 V Übersetzung)
  • Latch-Up-Leistung übertrifft 100 mA gemäß JESD 78, Klasse II
  • Die Eingänge akzeptieren Spannungen bis zu 3,6 V
  • Spezifiziert von -40 °C bis +85 °C und von -40 °C bis +125 °C

Applikationen

  • Tragbare Applikationen
  • Set-Top-Box
  • Industrie
  • Abschirmungsprodukte
  • Server/Computer
  • Automotive

Blockdiagramm

Blockdiagramm - Nexperia 74AVC1T1004 Fanout-Puffer mit 1-zu-4-Umsetzung
Veröffentlichungsdatum: 2018-08-31 | Aktualisiert: 2023-03-15