Die Microchip IS1870/71 Bluetooth Low Energy SoCs bieten eine einfache Integration und Programmierung, reduzierte Entwicklungszeit, hervorragende Bluetooth Low Energy-Lösung mit einem kostengünstigen System, Interoperabilität mit Apple® iOS und Android™ OS und eine breite Palette von Applikationsunterstützung.
Das IS1870/71 SoC ist für eine stromsparende drahtlose Verbindung optimiert und die Gehäusegröße mit kleinem Formfaktor ist für Wearables ausgelegt.
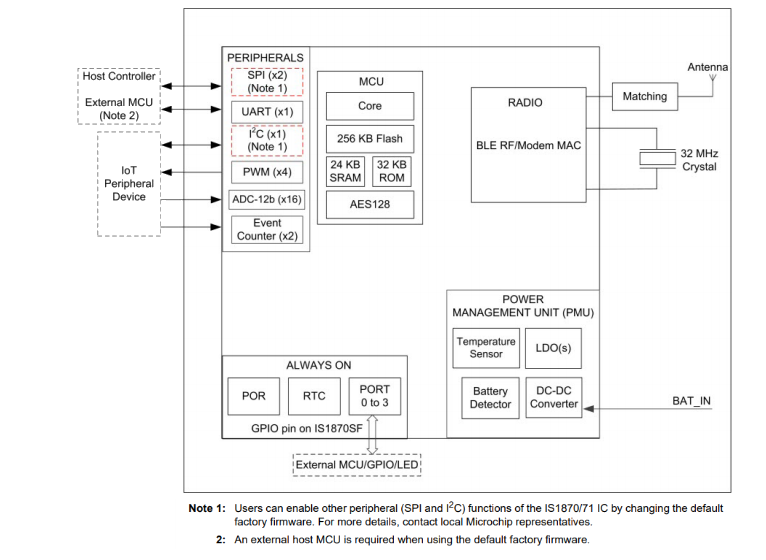
Merkmale
- Bluetooth Smart 4.2 Bluetooth Low Energy-konform
- 256 KByte integrierter Flash-Speicher
- Unterstützt UART-/SPI-/I2C-Schnittstelle
- Integrierter Quarzoszillator arbeitet mit externem 32 MHz-Quarz
- Unterstützt Temperatursensor
- 31 Universal-I/O-Pins (GPIO) für IS1870 SoC und 15 GPIO-Pins für IS1871 SoC
- Unterstützt eine 4-Kanal-Pulsweitenmodulation (PWM) für das IS1870 SoC und Einkanal-PWM für das IS1871 SoC
- Unterstützt einen 12-Bit-ADC (ENOB=10 oder 8 Bits) für die Batterie- und Spannungserkennung
- 16-Kanal-ADC für IS1870 SoC und 6-Kanal-ADC für IS1871 SoC sind verfügbar
- AES-CMAC Hardware-Engine
- Beacon-Unterstützung
- Geringer Stromverbrauch
- Kompakte Größe:
- IS1871 in einem 32-QFN-Gehäuse von 4 mm x 4 mm
- IS1870 in einem 48QFN-Gehäuse von 6 mm x 6 mm
Applikationen
- Internet of Things (IoT)
- Wearables, Fitness oder Gesundheitswesen
- Waage
- Proximity/Find Me-Dienste
- Sichere Zahlungssysteme
- Digitale Beacons
- Verbrauchergeräte oder Heimautomatisierung
- Industrie
IS1870 Blockdiagramm
IS1871 Blockdiagramm
Videos
Veröffentlichungsdatum: 2021-03-15
| Aktualisiert: 2024-10-30

