Microchip Technology BM70 Bluetooth® PICtail™/PICtail Plus Board
Das BM70 Bluetooth® PICtail™/PICtail Plus Board von Microchip Technology ist zur Evaluierung und Demonstration der Fähigkeiten des BM70 BLE-Moduls ausgelegt. Dieses Bluetooth Board umfasst eine integrierte Konfigurations- und Programmierschnittstelle für die Plug-und-Play-Funktionen. Darüber hinaus bietet das BM70 Bluetooth Board zudem eine integrierte Testumgebung für sämtliche Funktionen, die im BM70 BLE-Modul unterstützt werden. Dieses Bluetooth Board umfasst das BM70BLES1FC2-Modul und das BM70BLES1FC2-Trägerboard.Merkmale
- Bluetooth® 4.2-konformes RN4871-Modul mit On-Board-Antenne und 2 dBm-Ausgangsleistung
- Wird umgehend mithilfe einer USB-Schnittstelle und eines Windows®-basierten Konfigurationstools entwickelt
- USB-Anzeigen-, Modulstatus- und benutzerkonfigurierbare LEDs
- PICtail-Schnittstelle für die Verbindung zu gängigen Mikrocontroller-Entwicklungsplattformen wie z. B. Explorer16
- Knopfzellenbatterien-, USB- oder PICtail-Stromversorgungsoptionen
- Zugang zu allen BM70-Modulkontakten
Lieferumfang Kit
- BM70 EVB enthält BM70BLES1FC2-Modul
- Mikro-USB-Kabel
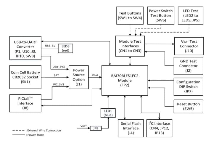
BM70 Pictail/Pictail Plus Board - Blockdiagramm
Veröffentlichungsdatum: 2018-10-08
| Aktualisiert: 2022-12-01
